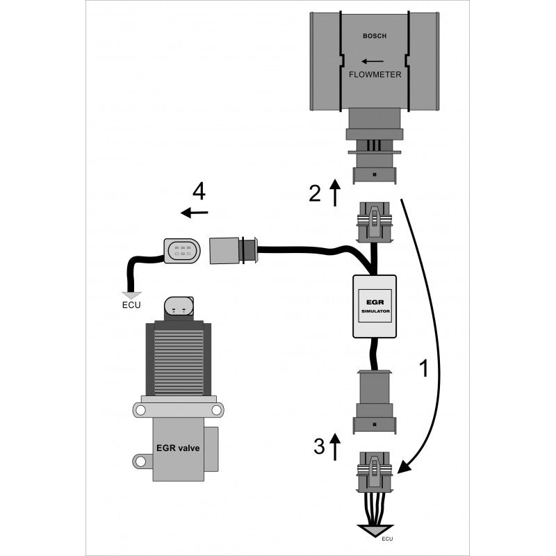
Instalación del EMULADOR EGR (Opel Fiat Saab Alfa Romeo 1.3 1.9 2.4) 4PIN – 5PIN
PARA VER KIT ANULAR VALVULA EGR OPEL FIAT ALFA ROMEO LANCIA SAAB 1.3 1.9 2.4 JTD JTDM CDTI TID DDIS CUADALIMETRO 4 PINES,PINCHA AQUI
PARA VER KIT ANULAR VALVULA EGR OPEL FIAT ALFA ROMEO LANCIA SAAB 1.3 1.9 2.4 JTD JTDM CDTI TID DDIS CUADALIMETRO 5 PINES,PINCHA AQUI

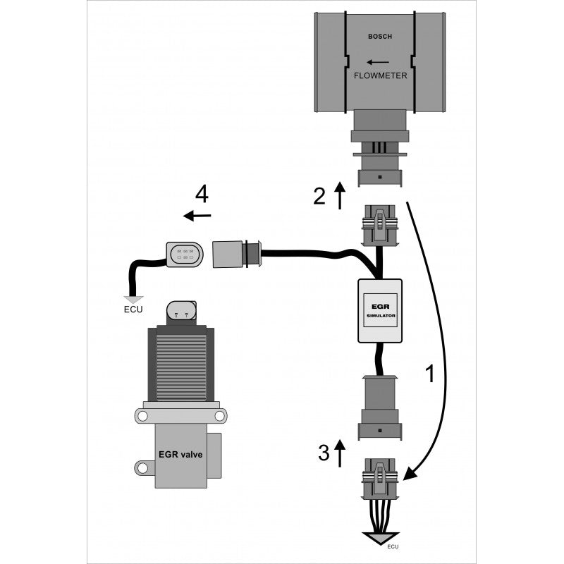
Instalación del EMULADOR EGR (Opel Fiat Saab Alfa Romeo 1.3 1.9 2.4) 4PIN – 5PIN
1. Desconectar el enchufe de valvula EGR
2.Conectar el simulador de EGR al enchufe de EGR. Dejar la valvula EGR desconectada.
3. Desconectar el enchufe del medidor de aire
4. Conectar el simulador al medidor de aire
5. Conectar el enchufe del medidor de aire al simulador
Si todo esta bien, el controlador no debe notificar errores en el sistema de EGR.
Si la luz de fallo del motor sigue encendida, hay que comprobar y borrar los fallos desde la centralita.
La valvula EGR debe estar cerrada o tapada

